STMicroelectronics ST25R200 NFC/HF-RFID-Leser-IC

Der ST25R200 NFC/HF-RFID-Leser-IC von STMicroelectronics  liefert eine Spitzenleistung in einem kleinen 4 mm x 4 mm 24-Pin-TQFN-Gehäuse. Dieses Lesegerät IC bietet eine hohe Ausgangsleistung mit Dynamic Power Output (DPO), die eine einfache Integration in Applikationen mit kleinen Antennen ermöglicht. Das Lesegerät IC ST25R200 enthält einen RC-Oszillator und einen programmierbaren Timer, um im WU-Modus automatisch nach Karten oder anderen NFC-fähigen Geräten zu suchen. Zu den wichtigsten Merkmalen gehören die integrierte EMD- Verarbeitung und Active Wave Shaping (AWS) mit Über- und Unterschwingungsschutz. Dieses Lesegerät IC verfügt über externe Kommunikationsschnittstellen, z. B. ein Serial Peripheral Interface (SPI), mit Datenübertragungsgeschwindigkeiten von bis zu 10 Mbit/s.

Das Lesegerät ST25R200 ist für einen weiten Stromversorgungsbereich von 2,7 V bis 5,5 V und einen breiten Umgebungstemperaturbereich von -40 °C bis 85 °C ausgelegt. Zu den typischen Applikationen gehören Beauty und Lifestyle, Markenschutz, Zubehörerkennung, automatische Parametereinstellung, Identifizierung, Gesundheitswesen und Zugangskontrolle.

Merkmale

  • Verbesserte Erkennung von Karten mit niedrigem Stromverbrauch basierend auf induktivem Wake-up
  • Hohe Ausgangsleistung mit Dynamic Power Output (DPO)
  • Option zum Anschluss von zwei unabhängigen Single-Ended-Antennen
  • Einstellbare ASK-Modulationstiefe
  • Integriertes EMD-Handling
  • Active Wave Shaping (AWS) mit Über- und Unterschwingungsschutz
  • Automatische Verstärkungsregelung und Squelch-Funktion zur Maximierung des Signal-Rausch-Verhältnisses
  • Integrierte Regler zur Erhöhung des System-PSRR
  • Messung von Antennencharakteristiken (I/Q-Kanäle)
  • 256-Byte FIFO

Technische Daten

  • Serielle Peripherieschnittstelle (SPI) mit Datenübertragungsgeschwindigkeiten bis zu 10 Mbit/s
  • Antennen-Spannungsbereich: bis zu 6 VP
  • Großer Stromversorgungsbereich: 2,7 V bis 5,5 V
  • Umgebungstemperaturbereich -40 °C bis 85 °C
  • 4 mm x 4 mm 24-poliges TQFN-Gehäuse

Applikationen

  • Gesundheitswesen
  • Zugangskontrolle
  • Beauty and Lifestyle
  • Küchen- und Haushaltsgeräte
  • Gaming und Bildung
  • Heimautomatisierung und Unterhaltungselektronik
  • Industrie und Tools
  • IoT
  • Markenschutz
  • Zubehörerkennung
  • Automatische Parametereinstellung
  • Identifikation
  • Messungen
  • Transport und Ticketing
  • Benutzerinteraktion und Kundenbindung

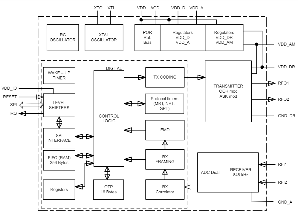
Blockdiagramm

Blockdiagramm - STMicroelectronics ST25R200 NFC/HF-RFID-Leser-IC

Pin- und Signalbeschreibung

STMicroelectronics ST25R200 NFC/HF-RFID-Leser-IC
Veröffentlichungsdatum: 2024-06-26 | Aktualisiert: 2024-11-20