NXP Semiconductors UJA116xA Mini-HS-CAN-Transceiver
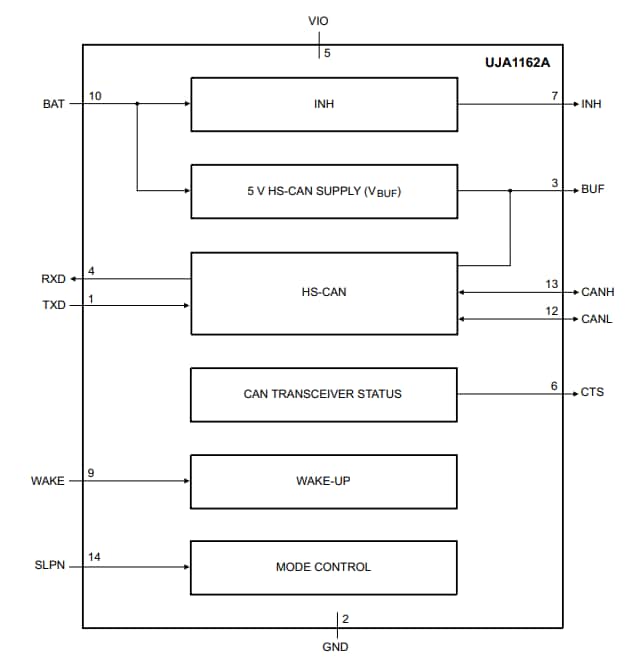
NXP Semiconductors UJA116xA Mini-HS-CAN-Transceiver bieten eine hochintegrierte Lösung mit einer HS-CAN-Schnittstelle, die in einem kleinen, bleifreien HVSON14-Gehäuse untergebracht ist. Die UJA116xA-Varianten bieten Optionen, einschließlich einen Watchdog, eine optionale externe 5-V-Sensorversorgung und eine teilweise Netzwerkunterstützung.Die NXP UJA116xA Mini-HS-CAN-Transceiver enthalten einen HS-CAN-Transceiver der mit ISO11898-2:2016 und SAE J2284-1 bis J2284-5 konform ist. Darüber hinaus können die Bauteile eine aktive FD-Kommunikation von bis zu 5 MBit/s zusammen mit einer integrierten 5-V-Low-Dropout-Regler-Versorgung (V1) für einen Mikrocontroller und andere Lasten von bis zu 100 mA bieten. Der UJA116xA SBC kann in STANDBY- und SLEEP-Modi mit sehr geringem Stromverbrauch mit Bus und lokaler Hochfahrfähigkeit betrieben werden.
Merkmale
- ISO 11898-2:2016 und SAE J2284-1 bis SAE J2284-5-konforme HS-CAN, einschließlich aktive CAN-FD-Kommunikation von bis zu 5 MBit/s
- Optionale Teilnetzwerk- und CAN-FD-passive Unterstützung
- Autonomes Bus-Vorspannen gemäß ISO 11898-6
- Vollständig integrierter 5-V-Low-Dropout-Regler mit einer Ausgangsstrombelastbarkeit von 100 mA
- Optionale geschützte 5-V-Sensorversorgungsvariante für Off-Board-Nutzung
- Standby- und Schlafmodus mit sehr niedrigem Versorgungsstrom
- Watchdog mit Fenster-, Timeout- und autonomen Modi und Mikrocontroller-unabhängiger Taktquelle
- Lokale und Fernweckfunktion
- Modussteuerung über die serielle Peripherieschnittstelle (SPI-Bus)
- Einfache und sichere kundenseitig programmierbare Konfiguration ausgewählter Funktionen über nichtflüchtigen Speicher
- Unterstützung für Mikrocontroller-RAM-Erhaltung bis hinunter zu einer Batteriespannung von 2 V
- Unbedrahtetes HVSON14-Gehäuse (3 mm × 4,5 mm) mit automatischer optischer Inspektionsfunktion (AOI) und niedrigem thermischem Widerstand
- Hardware- und Software-kompatibel mit der UJA116x-Produktfamilie
- Qualifiziert nach der Norm AEC-Q100 Rev-G
Applikationen
- Sonnendach-Steuerungsmodule
- Sitzgurtstraffer
- Schalthebelsteuerung
- Reifendrucküberwachung
- Tür- und Fenstersteuerung
- Lenkradsteuerungsmodule
- HLK-Klimakontrolle
Varianten-Tabelle
View Results ( 11 ) Page
| Teilnummer | Datenblatt | Beschreibung |
|---|---|---|
| UJA1164ATK/0Z | ![]() |
CAN-IC-Schnittstelle Mini high-speed CAN system basis chip with Standby mode & watchdog |
| UJA1162ATK/0Z | ![]() |
CAN-IC-Schnittstelle Self-supplied high-speed CAN transceiver with Sleep mode |
| UJA1167ATK/0Z | ![]() |
CAN-IC-Schnittstelle Mini high-speed CAN system basis chip with Standby/Sleep modes & watchdog |
| UJA1163ATK/0Z | ![]() |
CAN-IC-Schnittstelle Mini high-speed CAN system basis chip with Standby mode |
| UJA1168ATK/0Z | ![]() |
CAN-IC-Schnittstelle Mini high-speed CAN system basis chip for partial networking |
| UJA1161ATK/0Z | ![]() |
CAN-IC-Schnittstelle Self-supplied high-speed CAN transceiver with Standby mode |
| UJA1166ATK/0Z | ![]() |
CAN-IC-Schnittstelle Self-supplied high-speed CAN transceiver with Sleep mode |
| UJA1167ATK/X/0Z | ![]() |
CAN-IC-Schnittstelle Mini high-speed CAN system basis chip with Standby/Sleep modes & watchdog |
| UJA1168ATK/F/0Z | ![]() |
CAN-IC-Schnittstelle Mini high-speed CAN system basis chip for partial networking |
| UJA1168ATK/X/0Z | ![]() |
CAN-IC-Schnittstelle Mini high-speed CAN system basis chip for partial networking |
Veröffentlichungsdatum: 2021-06-21
| Aktualisiert: 2022-03-11

