ISSI IS62WVS Serielle SRAMs

ISSI IS62WVS Serielle SRAMs

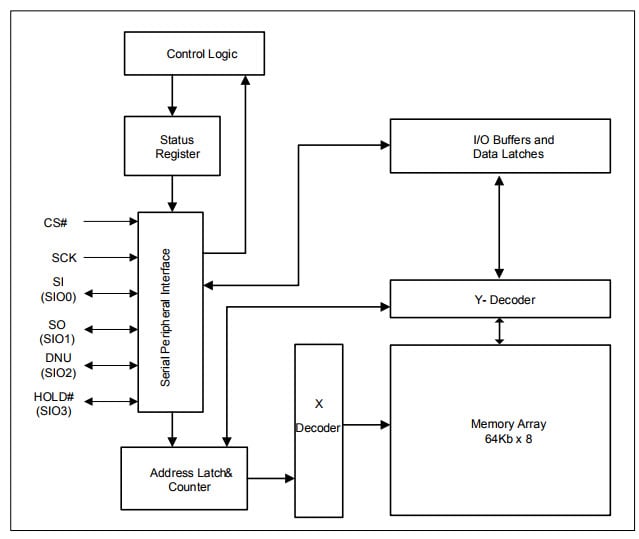
Die seriellen SRAMs IS62WVS von ISSI werden unter Verwendung von Hochleistungs-CMOS-Technologie hergestellt, um 4µA Ruhestrom zu liefern. Diese SRAMs sind 512K, 1M oder 2M Bit seriell statische RAMs, organisiert als 64K, 128K oder 256K Byte von jeweils 8 Bits. Die seriellen SRAMs IS62WVS bieten eine Taktrate von 20 MHz, eine SPI-kompatible (Serial Peripheral Interface) Busschnittstelle und unterstützen unbegrenzte Lese- und Schreibvorgänge im Speicherarray. Die zusätzlich unterstützten Schnittstellen sind eine SDI (Serial Dual Interface) und eine SQI (Serial Quad Interface) für schnellere Datenratenanforderungen. Diese SRAMs arbeiten innerhalb eines Temperaturbereichs von -40 ºC bis 85 °C und sind in einem bleifreien 8-Pin SOIC-Gehäuse erhältlich. Typische Applikationen umfassen industrielles IoT, erweiterte Fahrerassistenzsysteme und medizinische Industrie.

Funktionen
  • Stromsparende Hochleistungs-CMOS-Technologie
  • SPI-kompatibler Bus
    • SPI (x1) oder SDI (x2) oder SQI(x4) I/O-Modi
  • RAM-Organisation
    • 512 KB SRAM als 64K Bytes von 8 Bits
    • 1 MB SRAM als 128K Bytes von 8 Bits
    • 2 MB SRAM als 512K Bytes von 8 Bits
  • Extrem geringer Stromverbrauch:
    • 8 mA Lesestrom bei 3,6 V, 20 MHz (max.)
    • 4 μA Ruhestrom (typisch)
  • Lesemodi:
    • Byte-Lesemodus
    • Seitenlesemodus
    • Sequentieller Lesemodus
  • 32 Byte Seitengröße
  • Maximale Frequenz:
    • 16 MHz bei 1,8 VDD
    • 20 MHz bei 3 VDD
  • 8-Pin SOIC-Gehäuse

  • Applikationen:
    • Industrielles IoT
    • Erweiterte Fahrerassistenzsysteme
    • Industrielle Applikation
    • Medizintechnik
IS62WVS Blockdiagramm
ISSI IS62WVS Blockdiagramm
eNews
  • ISSI
Veröffentlichungsdatum: 2017-10-17 | Aktualisiert: 2024-03-05